亞馬遜要在水底建的倉庫,比無人機送快遞還要黑科技
2017-07-17 08:14:15 查看:
話說無人機送貨,兩年前還猶如驚雷。但隨著亞馬遜又是試驗,又是申請各種專利,頗有種“未來在我手”的架勢,還有谷歌也押注無人機送貨,這趨勢就揚起來了,國內的順豐、京東都成了踐行者。
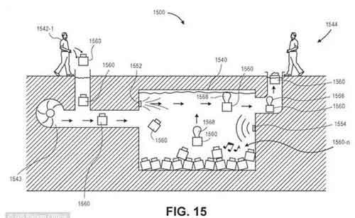
可亞馬遜又不按套路出牌了,天上飛快遞還滿足不了,水里游快遞的黑科技,他們也想一并包攬。亞馬遜日前申請了新專利,事關水底建倉庫放包裹,反正浮到表面交貨前就先這么存著,水底也沒啥限制,湖泊,水庫等都行。俯瞰效果圖如下:
用起來也很方便,至少投放包裹的“姿勢”你隨意,或卡車運、或人工投都沒問題。著重點是包裹到水里了,然后呢?
亞馬遜在包裹上做了點“手腳”,加了類似氣球的玩意,它能縮放自身體積,從而使包裹所受浮力有差別,因而通過控制即可確保包括待在不同水深處。氣球的縮脹是由聲音信號來控制,聲音觸發氣罐為氣球充氣,達到某程度,包裹浮出水面,便可自取。
說來也并非亞馬遜想特立獨行,實在是他們倉庫吞吐量大、存放空間又有限。亞馬遜搞了不少Kiva智能機器人來倉庫“搬磚”,還有專搬重物的機器手臂,但問題沒能根本解決,因此才有略顯怪異的水底倉庫的腦洞。
首先,水底存儲面積較實體倉庫而言本身沒那么受限,可達到100萬平方英尺或以上,約為亞馬遜北美最大鳳凰城運營中心面積的兩倍。其次,尤其對包裹尺寸、形狀差別過大,或取包裹時間有變動等情況,像水底倉庫這種能分行存儲,可更有效利用存儲空間,自動調節的系統,還能節省不少人力成本。
但這或也向工作人員提出新的挑戰,檢索訂單要如何處理,尤其當訂單里有那些存儲距離很遠的多個物品。“這并不像想象的那般牽強。”沃里克商學院Mark Skilton接受紐約時報采訪時說道,亞馬遜正在處理大量包裹形狀、大小不能標準化高效處理的項目,這部分目前還需依靠密集的人力來完成。“水下倉庫削減了諸多無效步驟,讓過程更簡單化。”
就在6月,亞馬遜才發布一項“存放”數百個無人機的九層蜂巢(nine-story hive)專利。這主要是為城市地區所設計的,畢竟想在人潮擁擠的城市建經營中心,地貴不說,重點是也沒足夠用的占地面積。像這樣的蜂巢,專利里設想的是每天能承擔數十萬條訂單的吞吐。但具體何時才能見著實物就不得而知了。
去年底,亞馬遜在英國完成首次正式無人機送貨,給英國劍橋附近的一名男子送去了亞馬遜的機頂盒和爆米花,整個飛行過程花了13分鐘。
仔細想想,天上飛快遞和水里游快遞其實也不沖突,反倒是二者可結合起來皆大歡喜。無人機完全可充當包裹從水底浮上來后的“接盤者”,站好“最后一公里”崗,仰仗不久前亞馬遜公布的“坐著”降落傘飄下包裹的專利技術,把包裹送到你跟前。
可亞馬遜又不按套路出牌了,天上飛快遞還滿足不了,水里游快遞的黑科技,他們也想一并包攬。亞馬遜日前申請了新專利,事關水底建倉庫放包裹,反正浮到表面交貨前就先這么存著,水底也沒啥限制,湖泊,水庫等都行。俯瞰效果圖如下:


亞馬遜在包裹上做了點“手腳”,加了類似氣球的玩意,它能縮放自身體積,從而使包裹所受浮力有差別,因而通過控制即可確保包括待在不同水深處。氣球的縮脹是由聲音信號來控制,聲音觸發氣罐為氣球充氣,達到某程度,包裹浮出水面,便可自取。
說來也并非亞馬遜想特立獨行,實在是他們倉庫吞吐量大、存放空間又有限。亞馬遜搞了不少Kiva智能機器人來倉庫“搬磚”,還有專搬重物的機器手臂,但問題沒能根本解決,因此才有略顯怪異的水底倉庫的腦洞。

首先,水底存儲面積較實體倉庫而言本身沒那么受限,可達到100萬平方英尺或以上,約為亞馬遜北美最大鳳凰城運營中心面積的兩倍。其次,尤其對包裹尺寸、形狀差別過大,或取包裹時間有變動等情況,像水底倉庫這種能分行存儲,可更有效利用存儲空間,自動調節的系統,還能節省不少人力成本。
但這或也向工作人員提出新的挑戰,檢索訂單要如何處理,尤其當訂單里有那些存儲距離很遠的多個物品。“這并不像想象的那般牽強。”沃里克商學院Mark Skilton接受紐約時報采訪時說道,亞馬遜正在處理大量包裹形狀、大小不能標準化高效處理的項目,這部分目前還需依靠密集的人力來完成。“水下倉庫削減了諸多無效步驟,讓過程更簡單化。”

就在6月,亞馬遜才發布一項“存放”數百個無人機的九層蜂巢(nine-story hive)專利。這主要是為城市地區所設計的,畢竟想在人潮擁擠的城市建經營中心,地貴不說,重點是也沒足夠用的占地面積。像這樣的蜂巢,專利里設想的是每天能承擔數十萬條訂單的吞吐。但具體何時才能見著實物就不得而知了。
去年底,亞馬遜在英國完成首次正式無人機送貨,給英國劍橋附近的一名男子送去了亞馬遜的機頂盒和爆米花,整個飛行過程花了13分鐘。
仔細想想,天上飛快遞和水里游快遞其實也不沖突,反倒是二者可結合起來皆大歡喜。無人機完全可充當包裹從水底浮上來后的“接盤者”,站好“最后一公里”崗,仰仗不久前亞馬遜公布的“坐著”降落傘飄下包裹的專利技術,把包裹送到你跟前。
